Unable to Withdraw
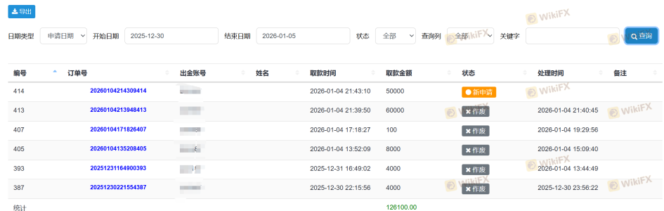
Unable to withdraw funds Arbitrarily cancel withdrawals Without any justification
This brokerage is a scam operation. They arbitrarily manipulate data, withhold principal and profits, and defraud clients of additional capital gains taxes.

Unable to Withdraw
This platform does not allow withdrawals and requires an additional 20% tax fee on top of deposits.
This platform does not allow withdrawals and requires an additional 20% tax fee on top of deposits.

Expose
FX1257540033| STRIKE PRO 2026-01-06 13:47
FX2228355262| iq option 2026-01-06 09:54
3-3=0| YalaTrade 2026-01-06 00:53
FX2197255859| CaiBull 2026-01-05 23:29
FX4205301964| Trade24Seven 2026-01-05 22:46
FX2375142434| ForexDana 2026-01-05 22:30
FX6497996132| Evtd 2026-01-05 12:58
FX2279215115| Quotex 2026-01-04 20:15
FX1309815052| EE TRADE 2026-01-04 15:00
FX1309815052| EE TRADE 2026-01-04 15:00
Latest exposure
Account Blocked After Profitable Trading: Broker Withdraws Funds and Restricts Website Access
BROKER HAS NOT PROCESSED MY WITHDRAWAL
Unable to Withdraw Funds - Potential Scam
Scam , my last profit was cancel
Guilty Victim?
I have deposited $30
Unable to withdraw funds Arbitrarily cancel withdrawals Without any justification
Account manipulation at that broker.
Warning!! EasyInvest is a fraudulent platform operating under multiple trading names.
WARNING!! EE TRADE is a fraudulent platform operating under multiple trading names.